PRODUCTEN
Producten
Neem contact met ons op
PRODUCTBESCHRIJVING
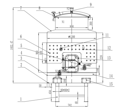
Dit type container is ontworpen met vorkheftruckopeningen of frameconstructies, waardoor vorkheftrucks direct in de vorkopeningen kunnen worden gestoken voor handling, waardoor het laad- en losproces wordt vereenvoudigd;

1. Geïntegreerde vorkheftruckkokers (de onmisbare eigenschap)
Dit is het bepalende kenmerk. Elke vorkheftruck-wijntank heeft heavy-duty, versterkte stalen vorkheftruckkokers (meestal 2–4 kokers, symmetrisch geplaatst op de basis of de onderste zijwanden van de tank). Deze kokers zijn ontworpen om het volledige gewicht van de tank plus de wijn erin te dragen (een volle tank van 500 gallon kan meer dan 4,500 lbs wegen!). Cruciaal is dat de kokers vlak of verzonken zijn—ze steken niet uit, zodat de tank niet blijft haken aan rekken, slangen of andere apparatuur wanneer hij wordt verplaatst. We gebruiken hier nooit externe beugels—die breken te gemakkelijk onder zware belasting.
2. Stapelbaar ontwerp (voor ruimtebesparende opslag)
De meeste vorkheftruck-wijntanks zijn stapelbaar wanneer ze leeg zijn (en soms wanneer ze gedeeltelijk gevuld zijn, met strikte gewichtsbeperkingen). De bovenkant van de tank heeft een versterkte rand die perfect past op de basis van een andere tank, zodat je ze met een vorkheftruck 2–3 hoog kunt stapelen. Dit is een enorme verbetering voor kleine tot middelgrote wijnhuizen—je hebt geen enorm magazijn nodig om lege tanks op te slaan tijdens het laagseizoen. Professionele tip: controleer altijd de stapelclassificatie van de fabrikant—stapel nooit volle tanks tenzij ze daar expliciet voor zijn geclassificeerd (de meeste niet, om veiligheidsredenen).
3. Duurzame, lichtgewicht constructie (in balans voor handling met een vorkheftruck)
Deze tanks zijn bijna altijd gemaakt van 304 of 316 roestvrij staal (food-grade, corrosiebestendig, perfect voor zure wijn). Maar de staaldikte is zorgvuldig in balans: dik genoeg om wijn te bevatten zonder te vervormen, dun genoeg om te worden verplaatst door een standaard magazijnvorkheftruck (geen zware industriële vorkheftruck nodig). De basis is ook versterkt met een massief stalen frame—dit voorkomt dat de tank buigt of scheurt wanneer een vorkheftruck hem optilt, zelfs wanneer hij vol is.
4. Draagbare formaatopties (afgestemd op de wendbaarheid van de vorkheftruck)
Vorkheftruck-wijntanks zijn verkrijgbaar in modulaire, wendbare formaten—meestal van 50 gallons (testen van kleine batches) tot 1,000 gallons (bulkproductie van kleine partijen). Ze worden nooit groter gemaakt dan dat, omdat grotere tanks te breed/lang zouden zijn om veilig met een vorkheftruck in een wijnmakerij te worden verplaatst (waar gangpaden vaak smal zijn, met lage plafonds en krappe bochten). Dankzij deze draagbaarheid kun je de tank rechtstreeks verplaatsen van de pers naar de fermentatieruimte, naar de rijpingsruimte en uiteindelijk naar de bottellijn—zonder wijn meerdere keren tussen vaste tanks te hoeven pompen (wat het risico op oxidatie vermindert!).
5. Vorkheftruckvriendelijke toegangspunten (voor eenvoudige wijnmaaktaken)
De kleppen, monsternamepoorten en mangaten (toegangsluiken) zijn allemaal geplaatst op een hoogte die gemakkelijk bereikbaar is wanneer de tank met een vorkheftruck wordt verplaatst. Zo bevindt de aftapkraan zich meestal aan de onderzijde (maar niet zo laag dat deze de vorktanden raakt), en de monsternamepoort op borsthoogte—zodat je geen ladder hoeft te beklimmen of de tank hoeft te laten zakken om een wijnmonster te nemen. Sommige modellen hebben zelfs een in hoogte verstelbare markering voor vorkheftrucks—zodat de operator de tank op exact de benodigde hoogte kan heffen om slangen of bottellijnen aan te sluiten, zonder extra steunen.
6. Slagvaste buitenzijde (voor handling in magazijnen)
Laten we eerlijk zijn—vorkheftrucks zijn niet altijd perfect. Deze tanks hebben versterkte hoekbeschermers en krasbestendige afwerkingen op het staal. De vorkheftruckkokers zijn ook bekleed met dik rubber of kunststof om te voorkomen dat de vorktanden de tank bekrassen (krassen kunnen na verloop van tijd leiden tot corrosie, wat de wijn bederft). Dit maakt ze veel duurzamer dan standaard wijntanks zonder vorkheftruckvoorziening, die gemakkelijk beschadigd raken als je ze met zwaar materieel probeert te verplaatsen.
7. Compatibel met standaard wijnmakerij-accessoires (geen speciaal gereedschap nodig)
Vorkheftruck-wijntanks werken met alle standaard wijnmakerij-uitrusting die je al hebt: koelmantels, verwarmingselementen, overhevelarmen en stoppen. Het enige verschil is dat je de tank met al deze accessoires bevestigd kunt verplaatsen (zolang ze vastgezet zijn) met een vorkheftruck. Dit bespaart enorm veel tijd—je hoeft niet telkens slangen los te koppelen en opnieuw aan te sluiten wanneer je de tank verplaatst. Je kunt bijvoorbeeld wijn in de tank fermenteren, een koelmantel bevestigen, hem met een vorkheftruck naar de koelruimte verplaatsen en hem laten rijpen—allemaal zonder de wijn binnenin aan te raken.
Vraag een offerte aan
Inpakken en verzenden
Aanbevolen producten